日期:2012-10-19浏览: 来源:国海滤器
高效GGQ-P20系列——干油过滤器【国海】适用于润滑频率极低、润滑点不超过50点,公称压力为10MPa的多线干油集中润滑系统中。直接或通过单线片式给油器向各润滑点供送润滑脂的装置,特别适用于破碎机、锻压机床、码头行吊,印刷机等小型的单机设备。干油过滤器适用于公称压力为40MPa的干油集中润滑系统,是一种为保证干油集中润滑系统工作正常,润滑点能得到一定纯度的润滑脂而设置的结构极为简单的网式过滤装置,它安装于润滑泵(手动、电动、风动、液动等)的出油口与系统供油主管之间,用以清除润滑脂内的残留杂质。
|
型 号
|
公 称 压 力
MPa |
d
(RC) |
重 量
kg |
|
GGQ-P8
|
40
|
1/4
|
1.15
|
|
GGQ-P10
|
3/8
|
1.10
|
|
|
GGQ-P15
|
1/2
|
1.4
|
|
|
GGQ-P20
|
3/4
|
1.5
|
|
|
GGQ-P25
|
1
|
1.6
|
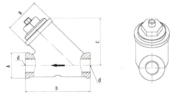
高效GGQ-P20系列示意图:

高效GGQ-P20系列——干油过滤器使用说明
1、使用介质为锥入度265~385(25℃,150g)1/10mm的润滑脂(NLGI0#-2#)。
2、过滤精度120µm。
3、较高使用温度120℃。
4、按箭头方向,采用活接形式安装在便于清洗拆换方便的润滑泵出口管路上。
5、应定期检查清洗过滤网。